Резьбовые технологии
 

Содержание:

 Предисловие

 Глава 1
 Глава 2
 Глава 3
 Глава 4
 Глава 5
 Глава 6
 Глава 7
 Глава 8
 Глава 9

 Кодификатор

 Приложения
   ГОСТ 631-80
   ГОСТ 632-80
   ГОСТ 633-80
   ГОСТ 5286-75

Параметры резьбы по ГОСТ 631 "Трубы бурильные с высаженными концами и муфты к ним"

Параметры треугольной резьбы приведены на рисунке 1 и в таблице 1.


Рис. 1 1- линия, параллельная оси резьбы, 2 - линия среднего диаметра резьбы.

Параметры треугольной резьбы по ГОСТ 631-75. Таблица 1

Параметры резьбы

Значения

Допуски

P - шаг резьбы 3.175 мм ±0.075 мм на длине 25,4 мм ±0.150 мм на всей длине
Половина угла профиля 30° ± 1° 15'
h1 - глубина резьбы 1.810 мм +0.05 -0.10 мм
h - рабочая высота профиля 1.734 мм
r - радиус закругления 0.508* мм +0.045* мм
r1 - радиус закругления 0.432* мм -0.045* мм
z - зазор 0.076 мм
j - угол уклона 1° 47' 24
2*tg j - конусность 1:16 +0.30 мм для
-0.20 мм труб
+0.20 мм для
-0.30 мм муфт

Примечания к табл.1: 1) отклонения по шагу резьбы на длине, не превышающей 25.4 мм, допускаются для расстояния между любыми двумя витками полной резьбы; при расстоянии между витками более 25.4 мм допускается увеличение отклонений пропорционально увеличению расстояния, но не свыше указанных в таблице для всей длины резьбы; 2) предельные отклонения по половине угла профиля относятся к углу между стороной профиля и перпендикуляром к оси резьбы трубы и муфты; 3) отклонения по конусности относятся к среднему диаметру резьбы трубы и муфты, а также к наружному диаметру резьбы трубы и внутреннему диаметру резьбы муфты. 4) размеры и допуски, отмеченные *), задаются для проектирования и изготовления инструмента

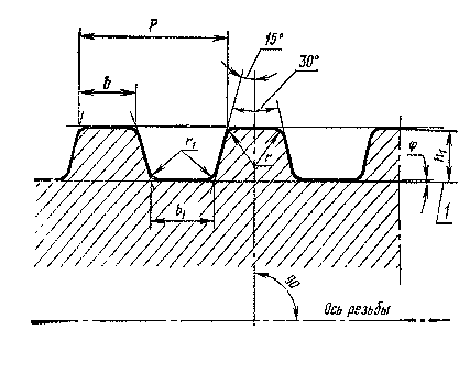
Параметры трапецеиадальной резьбы приведены на рисунке 2 и в таблице 2.

Параметры трапецеидальной резьбы по ГОСТ 631-75. Таблица 2

Параметры резьбы

Значения

Допуски

P - шаг резьбы 5.08 мм ±0.05 мм на длине 25,4 мм ±0.10 мм на всей длине
Половина угла профиля 15° ± 0° 45'
h1 - глубина резьбы 1.70 мм ± 0.05 мм
b - ширина площадки вершины профиля 1.99 мм
b1 - ширина площадки впадины 2.18 мм + 0.05 мм
r - радиус закругления вершины профиля 0.3* мм +0.1* мм
r1 - радиус закругления впадин 0.3* мм -0.05* мм
j - угол уклона 0° 53' 42''
2*tg j - конусность 1:32 +0.15 мм -0.05 мм на длине резьбы, равной 60 мм

Примечания:

1) отклонения по шагу резьбы на длине, не превышающей 25.4 мм, допускаются для растояния между любыми двумя витками полной резьбы; при расстоянии между витками более 25.4 мм допускается увеличение отклонений пропорционально увеличению расстояния, но не свыше указанных в таблице для всей длины резьбы; 2) предельные отклонения по половине угла профиля относятся к углу между стороной профиля и перпендикуляром к оси резьбы трубы и муфты; 3) отклонения по конусности относятся к среднему диаметру резьбы трубы и муфты, а также к наружному диаметру резьбы трубы и внутреннему диаметру резьбы муфты; 4) размеры и допуски, отмеченные *), задаются для проектирования и изготовления инструмента